2022-01-14
在商票到期拒付后,持票人为何应该尽早诉讼?早诉讼优势在哪?
在商票到期拒付后,持票人为何应该尽早诉讼?早诉讼优势在哪? 01 避开集中管辖 房企历来是开商票的大头,可以说目前市场流通的商票中至少有三分之一是来自于房企。商票主要依...
在商票到期拒付后,持票人为何应该尽早诉讼?早诉讼优势在哪? 01 避开集中管辖 房企历来是开商票的大头,可以说目前市场流通的商票中至少有三分之一是来自于房企。商票主要依...
从团队办理的票据纠纷诉讼案件及接待的票据咨询中出现频率最高的问题来看,管辖地是票友们最关心的问题之一,因为管辖地直接影响到票友的维权成本。 同时票据的流通性使得汇票...
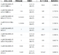
兴业银行电子银行承兑汇票贴现利率,实时价格如下 从以上兴业银行的银票贴现利率来看,贴现利率在3%-3.18%,而不同地区的兴业银行电子银行承兑汇票的贴现价格也会有一定的差异性...
电子承兑汇票的流转是建立在企业网银基础之上的,所以接收电子承兑汇票,首先要开通企业网银,然后在企业网银中开通电子票据功能,开通后就可以接收电子承兑汇票了。 与纸票相...
祥生商票最新情况 泰兴市祥瑞置业有限公司商票在到期后不兑付。 商票历史兑付记录 承兑总笔数:501 拒付总笔数:4 更多祥生商票拒付的分析,查看 祥生商票兑付信息:有逾期拒付!...