2021-12-29
商票到期不能兑付,持票人行使追索权,对诉讼对象的选择?
自2021年中旬开始,恒大地产、隆基泰和、实地等地产企业被爆出负面消息,此后国家也出条了房地产资管新规三条红线,在市场环境与新规的多重因素夹击下,地产企业的处境更为艰难...
自2021年中旬开始,恒大地产、隆基泰和、实地等地产企业被爆出负面消息,此后国家也出条了房地产资管新规三条红线,在市场环境与新规的多重因素夹击下,地产企业的处境更为艰难...
在国内票据市场中,由于中国国情,银票更受投资者青睐,所以银行承兑汇票的市场份额是比商业承兑汇票的多得多的。 而银行承兑汇票是一种票据,要到期之后承兑人才会兑付。但是...
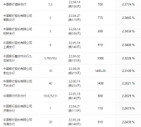
海伦堡商票兑付怎么样? 在此,商票易小编整理了12月海伦堡商票兑付的部分信息,商票到期兑付的还是挺多的。...
商业承兑汇票质押融资 是指持票人将符合我行要求的供应链金融核心客户承兑的商业承兑汇票质押给我行,由我行向持票人提供资金融通的一种授信业务。 以华夏银行为例,跟大家探...
有持票人反馈了两种提示付款的情况,如下 情况1:某一商业承兑汇票于12月10日到期的,但是持票人忘记这一商票的到期时间了,到期后一直没操作提示付款,在12月28日才操作提示付款...